|
InGaAs PIN Photodiode Chip on Ceramic, Active Area 300um in Stock, DPIN-441 ($26.0):
|

|
|
|
|
|

|
|
The photodiode chip on ceramic has superior noise and photoelectric performance. Contact us for quantity pricing.
|
Electrical and Optical Characteristics (T=25ºC):
Parameters
|
Symbol
|
Test conditions
|
Min
|
Typ |
Max
|
Unit |
Spectral Response Range
|
λ
|
|
1000
|
|
1650
|
nm
|
Dark Current
|
ID
|
VR = 5V
|
|
0.5
|
1.0
|
nA
|
Responsivity
|
Re
|
VR = 5V, λ = 1310nm
|
0.88
|
0.93
|
|
A/W
|
| VR = 5V, λ = 1550nm |
0.92
|
0.98
|
|
A/W
|
Active Area
|
|
|
Φ300
|
um
|
Capacitance
|
C
|
f = 1MHz, VR = 5V |
|
5.0
|
6.0
|
pF
|
Operating Voltage
|
Vopr
|
|
|
-5
|
-15
|
V
|
Rise & Fall Time
|
fc
|
VR = 5V |
|
|
3
|
ns
|
Absolute Maximum Ratings (T=25ºC):
| |
Parameters
|
Min
|
Typ |
Max
|
Unit |
| |
Reverse Voltage
|
|
|
25
|
V
|
| |
Input Optical Power
|
|
|
10
|
dBm
|
| |
Operating Temperature
|
-40
|
|
85
|
°C
|
| |
Storage Temperature
|
-40
|
|
85
|
°C
|
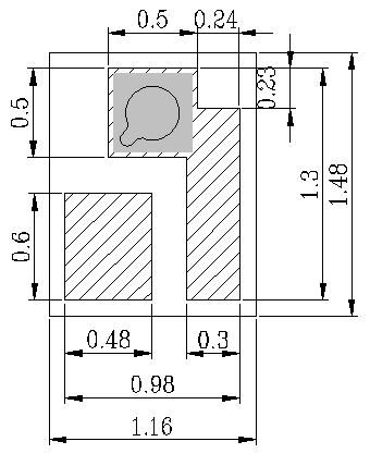
Package Dimensions:
Spectral Response, Responsivity vs. Temperature :
|